|
|
产品资料表 |
|
|
|
||
| 1109 美国轮系列 |
|
|
||||
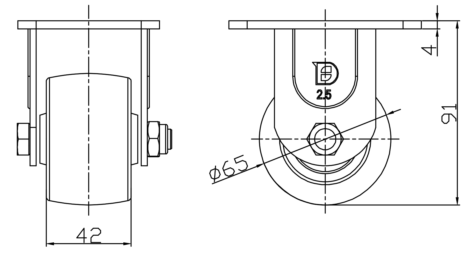
| 橡胶轮 轮径 × 轮宽 65×42 mm |
|
|
||||
| EAN |
|
|||||
|
YJ-11090250051413 |
|
|||||
|
|
|
|||||
| 固定式脚轮,脚片焊接式脚架—高级孔
表面镀锌,底板式安装装置 热可塑性塑料轮芯,高品质的弹力橡胶轮面 轮子轴承—精密滚珠。 |
|
|||||
|
|
|
|||||
| 轮面:高品质的弹力橡胶 轮芯:热塑性塑料(PA6 ) 产品说明仅供参考一切以实体产品为主 |
|
|||||
|
|
|
|||||
公制 英制 轮径 65mm 轮宽 42mm |
|
|
||||
|
轮子轴承
搭配滚珠轴承的轮子
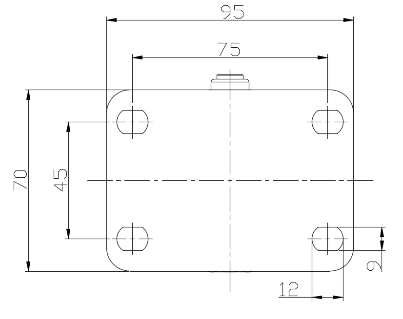
底板规格 95 x 70mm 底板孔距 75 x 45mm 高级孔 底板孔径 12 x 9mm 总高 91mm 硬度 80±5° Shore A 荷重(动态) 70kgs |
滚动顺畅 ● ● ● ○ ○ 静音表现 ● ● ● ● ○ 保护地板 ● ● ● ● ○ |
|||||
|
荷重(静态)
105kgs
温度 -20°C to +120°C 脚架样式 固定 |
|
|||||
|
不锈钢
否
导电 否 抗静电 否 脚轮重量 0.62kgs 测试标准 ISO22883 |
|
|
||||
|
|
|||||
|
|
|||||
|
|
|||||
|
|
|||||
| © 版权所有 2025 得貹上好轮 www.dersheng.com | ||||||